Сборка по лицензии и из деталей Ford-AA началась с 1930 г

Годы производства 1932—1942 г.г.

Модификации:

ГАЗ-ААА — грузовой автомобиль повышенной проходимости 6 × 4, грузоподъёмность 2,0 т. Создан на базе лицензионного грузовика «Форд-Тимкен» образца 1931 года. Годы выпуска: 1934—1943. В 1937 году получил более мощный (50 л. с.) двигатель и другие комплектующие от ГАЗ-ММ. Общий выпуск до 1943 года составил 37373 ед. На базе ГАЗ-ААА серийно выпускались:
- штабной автобус ГАЗ-05-193 (1936—1945)
- бронеавтомобиль БА-6 (1936—1938, 394 ед.)
- бронеавтомобиль БА-10А (1938—1939)
- бронеавтомобиль БА-10М (1939—1941, суммарно 3331 ед.).
В конце 1930-х годов на укороченные шасси ГАЗ-ААА были переставлены бронекорпуса выработавших ресурс бронеавтомобилей ранних серий, таким образом были получены бронеавтомобили БА-27М (1937—1938), БАИ-М и БА-3М (1939—1940). Кроме того, были созданы опытные БА-6 м и БА-9; опытные плавающие бронеавтомобили ПБ-4 (1933—1934, 6 ед.) и ПБ-7 (1936/37, 1 ед.). Выпускалась боевая химическая машина БХМ-1 (1935—1937), был создан опытный санитарный бронетранспортёр БА-22 на 10 раненых (1937).
БА-10 — осенью 1941 — весной 1942 года остаточная партия бронекорпусов БА-10М, остававшаяся на Ижорском заводе, была поставлена на двухосные шасси ГАЗ-ММ. Данные бронеавтомобили поступали только на Ленинградский фронт.
ГАЗ-410 — самосвал на шасси ГАЗ-АА и ГАЗ-ММ, грузоподъёмность 1,2 т, кузов цельнометаллический саморазгружающегося типа. Годы выпуска: 1934—1946.
ГАЗ-42 — газогенераторная модификация, использовавшая в качестве топлива деревянные чурки. Мощность двигателя — 35—38 л. с., грузоподъёмность паспортная — 1,0 т (реальная меньше, так как значительную часть укороченной платформы занимал 150—200-килограммовый запас чурок). Годы выпуска: 1938—1950.
ГАЗ-43 — газогенераторная версия на угле. Отличалась меньшими габаритами газогенераторной установки. Выпускалась малыми партиями в 1938—1941 годах.
ГАЗ-44 — газобаллонная версия на сжатом (компримированном) газе. Баллоны с газом располагались под грузовой платформой. Выпущена малой партией в 1939 году.
На автомобилях первых выпусков ставился редуктор НАТИ-СГ6, заменённый впоследствии редуктором НАТИ-СГ19. Двухмембранный редуктор НАТИ-СГ19 был компактней одномембранного НАТИ-СГ6.
Вся аппаратура размещалась под капотом двигателя. Редуктор размещался над двигателем, что давало ему достаточный подогрев, предотвращающий замерзание. Для контроля указателя запаса газа в баллонах на облицовке переднего бруса кабины ставился манометр. 60 кубических метров сжатого газа хранилось в шести баллонах. Масса газовой установки составляла 420 кг. Газовое оборудование выпускал Куйбышевский карбюраторный завод.
Средний пробег автомобиля без пополнения запасов газа зависел от топлива и составлял: 150 км на коксовом и светильном газе, 200 км на синтез-газе, 300 км на метане.
НАТИ-3 — опытная полугусеничная модификация с резинометаллической гусеницей с приводом ленивца от стандартного моста. Испытывалась в 1934—1936 годах.
ГАЗ-60 — серийная полугусеничная модификация с резинометаллической гусеницей с приводом ленивца от стандартного моста.
ГАЗ-65 — модификация повышенной проходимости с гусенично-колёсным движителем с приводом от стандартных задних колёс.
ГАЗ-03-30 — 17-местный автобус общего назначения с кузовом на деревянном каркасе с металлической обшивкой. Производился на мощностях смежника ГАЗа — ГЗА (Горьковский завод автобусов, ранее завод «Гудок Октября»). Годы выпуска: 1933—1950, с перерывом в 1942—1945. Самая распространённая модель советского автобуса довоенного периода.
ГАЗ-55 (М-55) — санитарный автомобиль, оснащался амортизаторами заднего моста. Вместимость: 10 человек, включая четырёх на носилках. Годы производства: 1938—1945.
ГАЗ-МС: Версия полугрузовика, выпускавшаяся Управлением реконструкции транспорта Москвы с 1934 по 1955 год.
ПМГ-1 — пожарный автомобиль (линейка). Годы выпуска: 1932—1941

Изображения

ГАЗ-АА

ГАЗ-ААГАЗ-ААГАЗ-ААГАЗ-ААКабина ГАЗ-ААШасси ГАЗ-ААЧертеж ГАЗ-АА

ГАЗ-АА бетоносмесительГАЗ-АА с вышкой для ремонта электросетиГАЗ - АА подметально-уборочная машина ПУ-7Чертеж. Бензозаправщик БЗ-42 на шасси ГАЗ-ААГрузовые такси на базе ГАЗ-ААТелескопическая автовышка на шасси ГАЗ-ААТелескопическая автовышка на шасси ГАЗ-ААЧертеж. Хлебный фургон на шасси ГАЗ-АА

Авторефрижератор на шасси ГАЗ-АА. 1937 г

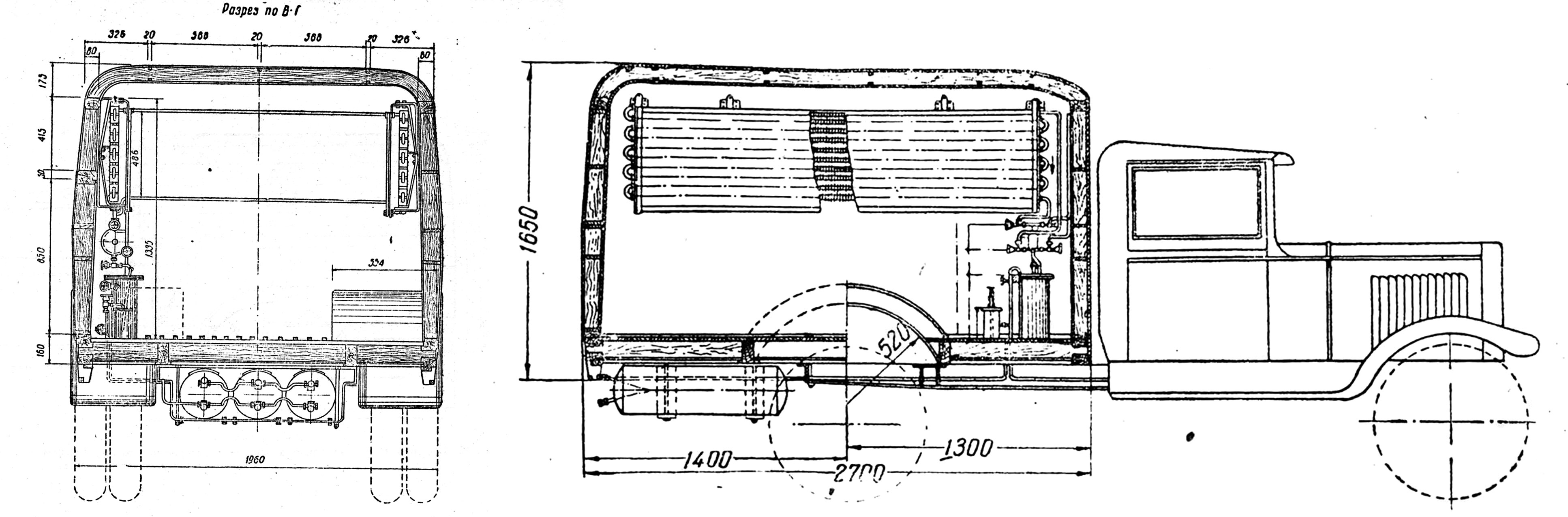
Авторефрижератор на шасси ГАЗ-АА. 1937 гАвторефрижератор на шасси ГАЗ-АА. 1937 гАвторефрижератор на шасси ГАЗ-АА. 1937 гАвторефрижератор на шасси ГАЗ-АА. 1937 гЧертеж авторефрижератора на шасси ГАЗ-АА. 1937 г

Аэродромный стартер АС-1 монтировался на шасси ГАЗ-АА

Аэродромный стартер АС-1 монтировался на шасси ГАЗ-АААэродромный стартер АС-1 монтировался на шасси ГАЗ-АААэродромный стартер АС-1 монтировался на шасси ГАЗ-АААэродромный стартер АС-1 монтировался на шасси ГАЗ-ААЧертеж. Аэродромный стартер АС-1 монтировался на шасси ГАЗ-АА

ГАЗ-АА ПМГ-1

ГАЗ-АА ПМГ-1ГАЗ-АА ПМГ-1ГАЗ-АА ПМГ-1ГАЗ-АА ПМГ-1Чертеж пожарной машины ГАЗ-АА ПМГ-1Чертеж пожарной машины ГАЗ-АА ПМГ-1