Фотографии и чертежи транспорта
Чертеж АЦ-40(131)-137_1
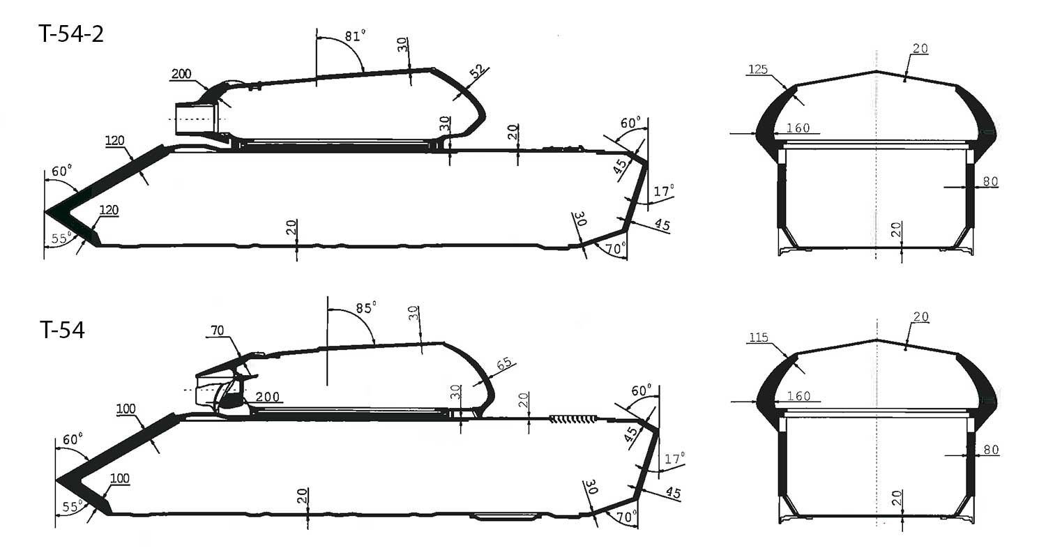
Схема бронирования танка Т-54 и Т-54-2
Rover 12 P2
Чертеж Ту-85
Силуэт танка Т-62
  • 1231
  • 1232
  • 1233
  • 1234
  • 1235
  • 1236
  • 1237
  • 1238
  • 1239
  • 1240

Просмотр категорий

  • Забыли пароль?
  • Забыли логин?

Этот день в истории

Нет событий